近日,國際經濟與管理研究院研究生相繼在國內外重要學術期刊發表論文。
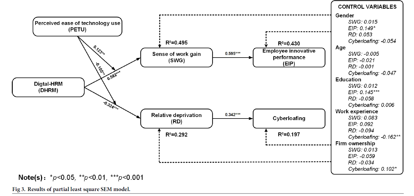
國際經濟與管理研究院2022級工商管理專業碩士研究生藍雨婷主筆的文章在國際期刊《PLOS ONE》(JCR一區)發表,題為“The dual path effect mechanism study of digital-HRM on employee innovative performance and cyberloafing”。胡冬梅教授為論文的第一作者,碩士生藍雨婷為論文的第二作者兼通訊作者,西華大學為論文的第一完成單位。

基于工作需求—資源理論,該研究深入探究了數字化人力資源管理(Digital-HRM)對員工的創新績效(EIP)以及網絡閑逛行為(Cyberloafing)的影響,并探究了工作獲得感(SWG)和相對剝奪感(RD)在其中的中介作用以及感知技術易用性(PETU)的調節作用。研究采用定量研究方法,通過三個時點進行線上問卷調查來收集研究數據(N = 487)。采用SmartPLS、SPSS以及Mplus對研究數據進行統計分析,以檢驗和驗證假設。

原文鏈接:https://doi.org/10.1371/journal.pone.0307195
國際經濟與管理研究院2022級工商管理專業碩士研究生邵婧芝主筆的文章在國際期刊《Chinese Management Studies》(SSCI)發表,題為“Workplace small talk and task performance: the chain mediation role of relational energy and positive affect”。陳玉玲副教授為論文的第一作者,碩士研究生邵婧芝為第二作者兼通訊作者,西華大學為論文的第一完成單位。該研究工作為國家自然科學基金青年基金項目(72102186)的階段性成果之一。

該研究聚焦于中國組織情景工作場所閑聊現象(WST),深入探討了工作場所閑聊對中國員工任務績效的影響,并探索了關系能量(RE)和積極情感(PA)在其中的中介作用。研究采用定量研究方法,通過兩個時點進行線上問卷調查來收集數據(N = 516)。采用層次回歸法和Bootstrap法對這些數據進行統計分析,以檢驗提出的假設。

原文鏈接:https://www.emerald.com/insight/content/doi/10.1108/CMS-11-2023-0613/full/html
國際經濟與管理研究院2021級工商管理專業碩士研究生王苗主筆的文章在CSSCI收錄期刊《科技進步與對策》發表,題為“團隊對外領地行為如何影響團隊知識共享:團隊心理安全氛圍與團隊正念的作用”。趙修文教授為論文的第一作者,碩士研究生王苗為論文的第二作者兼通訊作者,西華大學為論文的第一完成單位。該研究工作為四川省社會科學重點研究基地項目(W222280,W222281)的階段性成果之一。

該研究聚焦于組織行為研究領域的領地行為,關注組織中團隊之間的領地行為對團隊自身產生的影響,深入探討團隊對外領地行為對團隊知識共享的影響,并探索了團隊心理安全氛圍在其中的中介作用以及團隊正念的調節作用。研究采用定量研究方法,通過收集64個團隊的329名員工數據,并利用SPSS和Mplus等數據分析軟件進行統計分析,以檢驗提出的假設。

研究表明,團隊對外領地行為正向影響團隊知識共享。研究還發現,團隊正念在團隊對外領地行為與團隊知識共享之間起顯著調節作用。

川公網安備 51010602000503號